2.png)
Network Engine G4 的電源部分體現了其高端設計理念。它採用獨立的大型線性電源,與音頻電路完全分離,每個電路元件都透過變壓器繞組的獨立電源線直接供電。這種大型元件配置,包括大型環形變壓器、大容量定制電容和肖特基勢壘二極管,消除了產生噪音的開關元件,從而帶來流暢、逼真的類比回放音質。
ESOTERIC 網路引擎 G4(正面)和專用獨立線性電源單元(背面)
2. 高畫質網路連線(使用附 SFP 連接埠的網路交換器)

3. 高畫質網路連線(使用光媒體轉換器)

2.png)

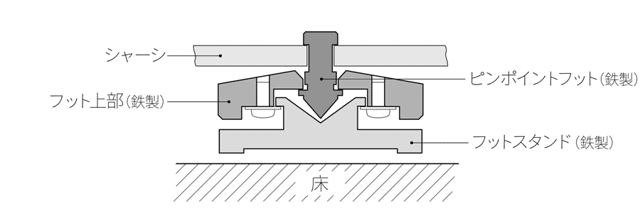
新型高功率/低雜訊觸發器電路

採用高品質元件,包括工業級高精度MELF電阻器、 IDM-01


該系統共配備五個電源變壓器(分別用於左右聲道 DAC、網路引擎、數位電路和微控制器電路),為每個組件提供強大的線性電源,從而產生如同模擬播放般流暢逼真的聲音。每個電源的穩壓器均採用分離式設計,摒棄了集成電路,並配備了“低反饋直流穩壓器”,最大限度地減少反饋,從而實現穩定性。這種低迴饋設計帶來充滿活力、開闊的聲音。
內部(上圖)
內部(底部)
Grandioso N1 + Grandioso PS12.png)

Grandioso N1 + Grandioso G1X數位連接
Grandioso P1X SE + Grandioso N1是 Esoteric 的專有超寬頻數位介面。它支援使用兩條 HDMI 線進行寬頻傳輸(最高支援 DSD 22.5 MHz、PCM 768 kHz/48 位元)。利用 HDMI 的雙線結構,它以完全平衡的方式傳輸音訊資料、左右聲道時脈和位元時脈訊號。與傳統的數位傳輸不同,它無需在發送端進行訊號調製,也無需在接收端進行解調,從而顯著降低了 DAC 端的數位處理負載,實現了純淨、理想的數位傳輸。
*播放時會降頻至 384kHz。
* 有關應用程式操作說明,請參閱此處的使用手冊。 (PDF,約 1.9MB)

*服務可用性僅限於特定地區,部分服務可能在日本不可用。

於2007年在法國創立,是高品質音樂發行服務的先驅,提供音樂串流和下載服務,滿足從挑剔的音樂愛好者到發燒友等各類用戶的需求。截至2024年,該服務已覆蓋全球26個國家,包括歐洲、美國、澳洲、紐西蘭、拉丁美洲、墨西哥和加拿大。在日本,Qobuz致力於透過與歷史悠久的高解析度音訊發行網站e-onkyo music的整合,提供更豐富的音樂體驗。此外,Qobuz還提供由專業團隊創作的大量獨家內容,包括原創專題和文章,並擁有目前音樂市場上最豐富的高品質(高解析度)音樂庫。 N1也支援Qobuz Connect。點擊此處
了解更多。

讓音樂瀏覽變得無比輕鬆便捷。相容於 Roon 的 ESOTERIC 網路音訊播放器無需複雜的網路配置,即可將音訊以無損位元率傳輸至 DAC 部分。 Roon 和 ESOTERIC 聯手,輕鬆可靠地提供強大的網路音訊功能、靈活的操作方式和卓越的效能。點擊此處
了解更多。
支援 RAAT(Roon 高級音訊傳輸)專用模式。 N1
配備 RAAT 專用模式,該模式會停用除 RAAT 所需功能之外的所有網路功能,從而降低 CPU 處理負載,並在使用 Roon 時提升播放品質。

發現新音樂 。 ESOTERIC 是 TIDAL 的官方合作夥伴。 TIDAL 是一項包月無損音樂分發服務,提供大量音樂庫和高品質音效,讓您立即暢享,在海外越來越受歡迎。 *TIDAL 目前僅在部分地區提供服務。在日本,該服務尚未正式上線。點擊此處
查看可用國家/地區清單。

是一項串流服務,可讓您將來自世界各地藝術家的超過 4000 萬首歌曲用作背景音樂。除了提供免費音樂播放等基本功能的 Spotify Free 之外,您還可以升級到 Spotify Premium,以高品質聆聽您喜愛的歌曲。按此
了解詳情。

(Master Quality Authenticated,母帶級音質認證)是一種高品質音訊編解碼器,能夠原汁原味地還原錄音室的母帶級音質。它擁有“母帶級音質”,在時間軸上的聲音分辨率顯著提升,必將令所有音樂愛好者為之傾倒。按此
了解詳情。
建築的精妙之處

規格
| 網路部門 | |
| 支援的文件格式 | |
| PCM無損 | FLAC、ALAC、WAV、AIFF、MQA |
| DSD無損 | DSF、DSDIFF (DFF)、DoP |
| 壓縮音訊 | MP3、AAC |
| 乙太網路終端 | 1 (1000BASE-T) |
| SFP連接器 | 1 (1000BASE-T/-LX(單模)/-SX(多模)) |
| USB磁碟機介面(建議使用USB 2.0或更高版本) | 1 (A型),1 (C型) |
| 支援的檔案系統 | FAT32、exFAT、NTFS、單一分區 |
| 最大供電電流 | 每個0.5A |
| 支援的取樣頻率 | |
| PCM | 44.1~768kHz,16/24/32位 |
| DSD | 2.8MHz、5.6MHz、11.2MHz、22.5MHz |
| 數位音訊輸入 | |
| ES-LINK | 1 系統(左/右) |
| 輸入訊號格式 | |
| 線性PCM | 44.1kHz-768kHz,48位元(ES-LINK5格式) |
| DSD | 2.8MHz、5.6MHz、11.2MHz、22.5MHz(ES-LINK5格式) |
| XLR | 1 系統 |
| 輸入電平 | 5.0Vp-p |
| 輸入阻抗 | 110歐姆 |
| 輸入訊號格式 | |
| 線性PCM | 32kHz-192kHz,16/24位元(AES/EBU格式) |
| DSD | 2.8MHz(ES-LINK1、ES-LINK2、DoP格式) |
| RCA | 1 系統 |
| 輸入電平 | 0.5Vp-p |
| 輸入阻抗 | 75歐姆 |
| 輸入訊號格式 | |
| 線性PCM | 32kHz-192kHz,16/24位元(IEC60958格式) |
| DSD | 2.8MHz(DoP格式) |
| 光學的 | 1 系統 |
| 輸入電平 | -24.0 至 -14.5 dBm 峰值 |
| 輸入訊號格式 | |
| 線性PCM | 32kHz-192kHz,16/24位元(IEC60958格式) |
| DSD | 2.8MHz(DoP格式) |
| USB連接埠 | 建議使用 1 個 USB 2.0 或更高版本的 USB 連接埠(B 型) |
| 輸入訊號格式 | |
| 線性PCM | 44.1kHz~384kHz,16/24/32位 |
| DSD | 2.8MHz、5.6MHz、11.2MHz、22.5MHz |
| 時鐘同步輸入 | |
| BNC | 1 |
| 輸入阻抗 | 50歐姆 |
| 輸入頻率 | 10MHz(±10ppm) |
| 輸入電平 | |
| 方波 | TTL電平等效 |
| 正弦波 | 0.5 至 1.0 Vrms |
| 外部控制輸入 | |
| 觸發端子(觸發輸入) | 3.5mm 單聲道迷你插頭 x 1 |
| 輸入電平 | 12V,1mA |
| 類比音訊輸出 | |
| XLR/ES-Link 模擬 | 1 系統(左/右) |
| 最大輸出水平 | 5.0Vrms(1kHz,10kΩ負載) |
| 輸出阻抗 | 50歐姆 |
| RCA 端子 | 1 系統(左/右) |
| 最大輸出水平 | 2.5Vrms(1kHz,10kΩ負載) |
| 輸出阻抗 | 18 歐姆 |
| 音訊特性 | DSD 2.8MHz,0dB,DSDF=F2,XLR 輸出 |
| 頻率響應 | 5Hz 至 30kHz (-3dB) |
| 信噪比 | 113dB(A計權) |
| 失真率 | 0.001% (1kHz) |
| 一般的 | |
| 電源 | 100V 交流電 50/60Hz |
| 耗電量 | 37瓦(待機:0.3瓦) |
| 外部尺寸(寬 x 高 x 深) | 445 x 162 x 447毫米(含凸出部分) |
| 大量的 | 27.8公斤 |
| 配件 | 電源線 x 1 ,直流輸入蓋 x 2, 說明書 x 1, 使用者卡 x 1 |
-
商品日本TEAC W-1200 雙卡式錄音機 配有 USB / 麥克風混音功能 卡拉OK
特價16800
-
商品瑞典PRIMARE CD15 Prisma 網路串流CD播放機 請來電洽詢
特價79000
-
商品瑞典PRIMARE Primare NP5 MK II 網路串流音樂播放器/播放機 請來電洽詢
特價28000
-
商品日本ESOTERIC K-05XD SACD/CD播放機 請來電詢價
-
商品SOULNOTE D-2 ver.2 DAC 數位類比轉換器 請來電洽詢
-
商品NAGRA HD DAC X 數位類比轉換器 請來電洽詢
-
商品日本 LUXMAN 旗艦 D-10X MQA対応 USB DAC CD/SACD播放機
特價328500
-
商品日本 LUXMAN 旗艦 D-07X MQA対応 USB DAC CD/SACD播放機
特價169000
-
商品YAMAHA CD-S303 Hi-Fi CD播放機
特價10200
-
商品DENON DCD-3000NE 旗艦級Hi-Fi 高音質SACD/CD播放機 請來電詢價