網路音訊傳輸
.png)
Network Engine G4體現了高階音響的設計概念。它採用獨立的大型線性電源,與音頻電路完全分離,每個電路元件都透過獨立於變壓器繞組的電源線直接供電。這種大規模的元件配置,包括大型環形變壓器、大容量定制電容和肖特基勢壘二極管,避免了使用開關元件(開關元件會產生噪音),從而帶來如同模擬播放般流暢逼真的聲音。
ESOTERIC 網路引擎 G4(左前)和數位音訊電路(右前)均配備各自獨立的高功率線性電源。 透過 SFP 模組和光纖線纜連接到相容 SFP 的外部網路設備(例如網路交換器),可將訊號與網路雜訊隔離,確保更純淨的播放效果。此外,您還可以使用金屬線連接 DAC 線(直線連接線),從而減少所需的電路數量。 RJ45 介面和 SFP 連接埠可以同時使用,您可以利用 SFP 連接埠連接外部網絡,同時利用 RJ45 介面連接 NAS(反之亦然),從而實現各種不同的設置,滿足您的不同需求。
1. 標準網路連線
2. 高畫質網路連線(使用附 SFP 連接埠的網路交換器)

3. 高畫質網路連線(使用光媒體轉換器)


隔離式音訊電路
與網路引擎的連接透過大型隔離器實現,徹底消除噪音影響。
與網路部分一樣,電源部分也配備了獨立於網路的專用大型線性電源,並透過與電源分離的電源線直接從變壓器繞組取電,從而實現清晰強勁的音質。
Grandioso N1T 的內部結構(上圖)
Grandioso N1T 內部結構(下部)
「Master Sound Discrete Clock for Digital Player」將這種離散電路設計概念應用於數位播放器的內建時脈。這款獨特的電路設計精選了包括大型晶體振盪器在內的離散元件,能夠呈現體現 Esoteric 理念的高品質聲音,其精細程度令人嘆為觀止,這是通用時脈無法實現的。
*透過 USB 將 N1T 連接到外部 DAC 時,由於非同步傳輸,無需為 N1T 輸入外部時鐘。請僅將 G1X 連接到 DAC 端。

左側:D1X SE右側:N1T(上排),G1X(下排)
用途廣泛,非常實用
此處的使用手冊(PDF,約 1.9MB)。

*服務可用性僅限於特定地區,部分服務可能在日本不可用。

發現新音樂 。 ESOTERIC 是 TIDAL 的官方合作夥伴。 TIDAL 是一項包月無損音樂分發服務,提供大量音樂庫和高品質音效,讓您立即暢享,在海外越來越受歡迎。 *TIDAL 目前僅在部分地區提供服務。在日本,該服務尚未正式上線。點擊此處
查看可用國家/地區清單。

於2007年在法國創立,是高品質音樂發行服務的先驅,提供音樂串流和下載服務,滿足從挑剔的音樂愛好者到發燒友等各類用戶的需求。截至2024年,該服務已覆蓋全球26個國家,包括歐洲、美國、澳洲、紐西蘭、拉丁美洲、墨西哥和加拿大。在日本,Qobuz與歷史悠久的高解析度音訊發行網站e-onkyo music合作,旨在提供更豐富的音樂體驗。此外,Qobuz還提供由專業團隊創作的大量獨家內容,包括原創專題和文章,並擁有目前音樂市場上最豐富的高品質(高解析度)音樂庫。點擊此處
了解更多。

Roon 讓音樂瀏覽變得無比輕鬆、方便。相容於 Roon 的 ESOTERIC 網路音訊播放器可將音訊以位元完美的方式傳輸至 DAC 部分,無需複雜的網路設定。 Roon 和 ESOTERIC 為您帶來網路音訊的強大功能、靈活性和卓越效能,操作簡單可靠。
了解更多
* Roon Ready 目前正在進行認證測試。一旦確定正式支持,我們將立即通知您。
支援 RAAT(Roon 高級音訊傳輸)專用模式。 N1T
配備了 RAAT 專用模式,透過停用 RAAT 所需功能之外的所有網路功能,降低 CPU 處理負載並提高使用 Roon 時的播放品質。

是一項串流服務,可讓您將來自世界各地藝術家的超過 4000 萬首歌曲用作背景音樂。除了提供免費音樂播放等基本功能的 Spotify Free 之外,您還可以升級到 Spotify Premium,以高品質聆聽您喜愛的歌曲。按此
了解詳情。

(Master Quality Authenticated,母帶級音質認證)是一種高品質音訊編解碼器,能夠原汁原味地還原錄音室的母帶級音質。它擁有“母帶級音質”,在時間軸上的聲音分辨率顯著提升,必將令所有音樂愛好者為之傾倒。按此
了解詳情。
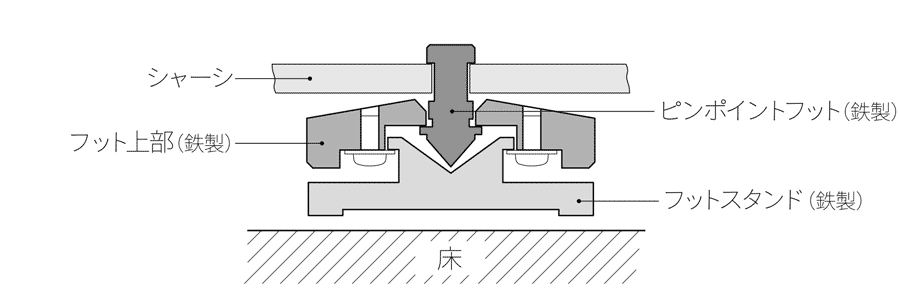
建築的精妙之處




電源部分也採用獨立的鋼板層,分別用於安裝電源電路和變壓器,以防止變壓器振動傳遞到電路中。底部機殼(變壓器安裝位置)設有精確的雷射狹縫,Esoteric 獨特的針腳設計可有效將振動散發到外部。

規格
| 網路部門 | |
| 支援的文件格式 | |
| PCM無損 | FLAC、ALAC、WAV、AIFF、MQA |
| DSD無損 | DSF、DSDIFF (DFF)、DoP |
| 壓縮音訊 | MP3、AAC |
| 乙太網路終端 | 1 (1000BASE-T) |
| SFP連接器 | 1 (1000BASE-T/-LX(單模)/-SX(多模)) |
| USB磁碟機介面(建議使用USB 2.0或更高版本) | 1 (A型),1 (C型) |
| 支援的檔案系統 | FAT32、exFAT、NTFS、單一分區 |
| 最大供電電流 | 每個0.5A |
| 支援的取樣頻率 | |
| PCM | 44.1~768kHz,16/24/32位 |
| DSD | 2.8MHz、5.6MHz、11.2MHz、22.5MHz |
| 數位輸出 | |
| ES-LINK終端 | x 1 (左/右) |
| USB介面(符合USB2.0標準) | A型×1 (最大供電電流:0.5A) |
| XLR端子(110Ω) | × 1 (PCM 44.1k~192kHz 16/24bit, DSD 2.8MHz (DoP)) |
| RCA端子(75Ω) | × 1 (PCM 44.1k~192kHz 16/24bit, DSD 2.8MHz (DoP)) |
| 時鐘輸入 | |
| 終端 | BNC x 1 |
| 輸入阻抗 | 50歐姆 |
| 輸入頻率 | 10MHz (±10ppm) |
| 輸入電平 | |
| 正弦波 | 0.5 至 1.0 Vrms |
| 方波 | TTL電平等效 |
| 外部控制輸入 | |
| 觸發端子(觸發輸入) | 3.5mm 單聲道迷你插頭 x 1 |
| 輸入電平 | 12V,1mA |
| 一般的 | |
| 電源 | 交流電 100 伏,50/60 赫茲 |
| 耗電量 | 32瓦 |
| 待機功耗 | 0.3 瓦 |
| 外部尺寸(寬 x 高 x 深,包括凸起部分) | 445 × 132 × 448 毫米 |
| 大量的 | 23.1公斤 |
| 配件 | 電源線 x 1, HDMI 線 x 2, 說明書 x 1, 用戶卡 x 1 |
-
商品日本TEAC CD-P750 超薄吸入式 CD錄音播放器 AM/FM/藍牙/CD/SD/USB
特價19800
-
商品日本TEAC SD-550HR 高解析類比數位錄音機 配有 USB /支援SDXC、SDHC、CF 記憶卡
特價56800
-
商品日本TEAC W-1200 雙卡式錄音機 配有 USB / 麥克風混音功能 卡拉OK
特價16800
-
商品日本TEAC NT-507T 數位串流轉盤
特價54800
-
商品日本 LUXMAN DA-07X D/A 解碼器
特價139800
-
商品日本 LUXMAN NT-07 D/A網路串流播放機
特價128000
-
商品日本Accuphase DP-770 SACD/CD播放機 請來電詢價
-
商品marantz LINK 10n 參考級無損串流媒體前級擴大機 請來電詢價
特價0
-
商品DENON DCD-900NE Hi-Fi 高音質CD播放機 請來電詢價
-
商品DENON DCD-600NE Hi-Fi 高音質CD播放機 請來電詢價